应用
阅读
出行
学习
摄像
直播
社交
工具
小说
资讯
行业资讯
微信新闻
合集
游戏合集
软件合集
文章合集
教程合集
主页 > 资讯 > 微信新闻 >

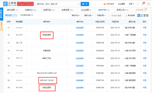
腾讯注册“微信云服务”商标

栏目:微信新闻 2021-07-28

【TechWeb】企查查APP显示,近日,腾讯科技(深圳)有限公司申请注册多项“微信云服务”“WECHAT CLOUD”商标,国际分类含科学仪器、广告销售、设计研究等,当前商标状态均为注册申请中。

人气榜单

微信安卓版下载
  • 微信安卓手机版
  • 微信MAC版
  • 微信IPhone手机版
  • 微信Windows版
这里面都是一些可以帮助你吃鸡画面更完美的优化大师app,其实它们的使用是非常方便的。作为一个高手玩家,在吃鸡的时候是对任何一个细节都有很高的要求,而这里面的画质【碎片管理--【文章内容页】热门推荐下发介绍文字】

相关资讯